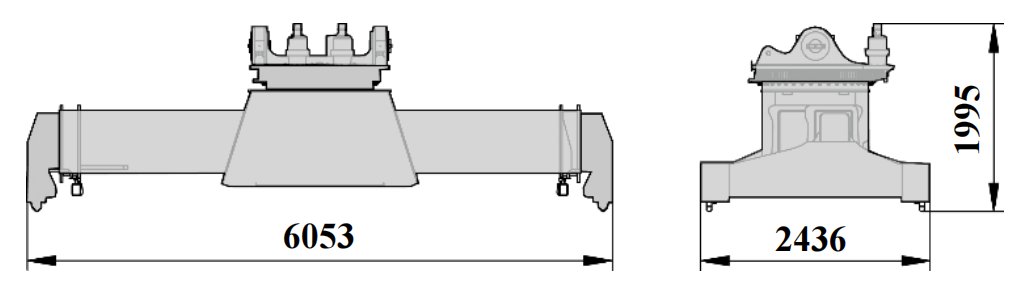
Dimensiones
![]()
![]()
![]()
Especificaciones técnicas
Equipamiento estándar
Esparcidor: El esparcidor XCMG es apto para contenedores estándar de 20' y 40'. Dispone de funciones telescópicas, de desplazamiento lateral y de rotación, así como de control de bloqueo por giro. Capacidad de elevación nominal: 45 t. Desplazamiento lateral: ±800 mm. Ángulo de rotación: -105° a +195°.
Cabina: Cabina del conductor dinámica con visión panorámica. Equipada con asiento ergonómico, cinturón de seguridad retráctil de dos puntos, portavasos, tomas de corriente de 12 V y 24 V, radio, altavoces y sistema de visión trasera HD.
Aire acondicionado: Sistema de climatización de alta potencia, totalmente automático, con calefacción y refrigeración.
Motor: Motor diésel QSM 11, de seis cilindros en línea, refrigerado por agua, turboalimentado y con control eléctrico; potencia nominal: 250 kW a 2100 rpm; par máximo: 1674 Nm a 1400 rpm. Cumplimiento de emisiones: Cumple con la normativa para vehículos todoterreno EPA Tier 3/EU Stage IIIA;
Transmisión: 15.7TE30510, transmisión automática (con opción de cambio manual) fabricada por Dana (EE. UU.), con 5 velocidades hacia adelante y 3 hacia atrás.
Eje motriz: Eje motriz reforzado D102PL341, fabricado por Kessler (Alemania).
Neumáticos: 6 neumáticos en diagonal, especificaciones: 18.00-25 40PR.
Frenos: Freno de servicio: Freno de disco húmedo, que actúa sobre las ruedas delanteras y está equipado con depósito de refrigeración independiente, filtro de alto rendimiento y radiador. Freno de estacionamiento de disco, que actúa sobre el eje delantero.
Dirección: Equipada con dirección asistida hidráulica completa, de fácil manejo.
Sistema hidráulico: Bomba y válvulas de pistones variables Parker (EE. UU.). El sistema cuenta con acción compuesta, conmutación automática de alta y baja velocidad (alta velocidad sin carga, baja velocidad con carga), elevación vertical y función antivibración del esparcidor. Equipado con filtro de alto rendimiento y radiador independiente de alta potencia.
Sistema eléctrico: Sistema de control CAN bus de 24 V, dos baterías, masa negativa. Luces de conducción: Tres faros delanteros y dos intermitentes; dos intermitentes, dos luces de freno y dos luces de marcha atrás. Luces de trabajo: Cuatro luces de trabajo en los bloqueos del esparcidor, cuatro en el centro de la pluma y cuatro en la parte trasera. Luces de advertencia: Una luz de alarma giratoria en la parte trasera.
Dispositivos de seguridad: LMT, dispositivo antivuelco para el eje trasero, radar de marcha atrás de 2,5 m de alcance, un extintor de 2 kg y sistema automático de extinción de incendios.
Chasis: Fabricado en acero de alta resistencia, con sección transversal reforzada para mayor resistencia a la torsión.
Pluma: Pluma telescópica cuadrangular de dos secciones, con diseño reforzado para mayor resistencia a la torsión, fabricada en acero de alta resistencia.
Equipamiento adicional
Esparcidor: El esparcidor Bromma es apto para contenedores estándar de 20' y 40'. Dispone de funciones telescópicas, de desplazamiento lateral y de rotación, así como de bloqueo por giro. Capacidad de elevación nominal: 45 t. Desplazamiento lateral: ±800 mm. Ángulo de rotación: -105° a +195°.
Dispositivo de calentamiento del refrigerante: Se utiliza para calentar el refrigerante del motor, facilitando el arranque. Es aplicable en zonas frías.
Las listas de piezas del producto son las mencionadas anteriormente; consulte la cotización del producto para obtener información sobre piezas específicas.
Peso
| Item | Front Axle | Rear Axle | Total weight | Tolerance |
| Unloaded | 35850kg | 35350kg | 71200kg | ±3% |
| Rated load | 99860kg | 16340kg | 116200kg | ±3% |
| The axle loads listed in the table are the values when 45t Load located on the first row. | ||||
Velocidades de trabajo
| Item | Unloaded | Rated load | Tolerance |
| Lifting speed | 420mm/s | 250mm/s | ±10% |
| Lowering speed | 360mm/s | 300mm/s | ±10% |
| Traveling speed | 25km/h | 21km/h | ±10% |
Especificaciones del esparcidor
| Item | XCMG Spreader | Bromma Spreader | Tolerance |
| Lifting capacity | 45000kg | 45000kg | ≥ |
| Side shift | ±800mm | ±800mm | ±1.5% |
| Telescoping time | extend:25s Retract:11s | 15s | ±10% |
| Rotating time | 50S | 50s | ±10% |
| Shifting time | 15s | 15s | ±10% |
| Lock\unlock time | 1s | 1s | ±10% |
Capacidades de elevación
![]()
| Spreader | Max.Lifting Height | Max.Lifting Capacity | Number of Stacking |
| X C M G | 15375mm | 45t | 5(9’6“)-5(8’6”)-4(8’6”) |
| Bromma | 15100mm | 45t | 5(9’6”)-5(8’6”)-4(8’6”) |
Dimensiones de las piezas transportadas
| 1 | Main machine | |
| Weight | 31200kg | 35050kg |
| Qty | 1 | |
| Length L | 7596mm | 8035mm |
| Notes | Removing the counterweight B | Not removing the counterweight B |
![]()
![]()
Dimensiones de las piezas transportadas
| 2 | Boom assembly |
| Weight | 13935kg |
| Qty | 1 |
![]()
| 3 | Counterweight A |
| Weight | 13742kg |
| Qty | 1 |
![]()
| 4 | Spreader |
| Weight | 8000kg |
| Qty | 1 |
![]()
| 5 | Counterweight B |
| Weight | 3826kg |
| Qty | 1 |
![]()
NOTAS: Todos estos pesos corresponden a una sola pieza, y el conjunto de la pluma incluye la pluma y el cilindro telescópico.
Ancho del pasillo
![]()
Datos técnicos principales
| No. | Item | Unit | Parameter | Tolerance | |
1 | length | mm | 11340 | ±2% | |
| 2 | Width | Spreader | mm | 6053 | ±2% |
3 | Front wheel | mm | 4200 | ±2% | |
4 | Height | mm | 4670 | ±2% | |
5 | Wheelbase | mm | 6000 | ±1% | |
6 | Trace | Front | mm | 3033 | ±1% |
7 | Rear | mm | 2790 | ±1% | |
| 8 | Overhang | Front | mm | 840 | ±1% |
| 9 | Rear | mm | 1194 | ±1% | |
| 10 | Min.ground clearance | mm | 350 | ±1% | |
| 11 | Min.turning radius | mm | 8000 | ≤102% | |
| 12 | Max.drawbar pull | kN | 380 | ≥90% | |
| 13 | Max grade ability | % | 33% | ≥90% | |
| 14 | Dead weight | kg | 71200 | ±3% | |
| 15 | Rated lifting capacity | kg | 45000 | —— | |
| 16 | Stacking capacity | —— | 05-5-4 | —— | |
| 17 | Max.lifting height | mm | 15100 | ±1.5% | |
18 | Max.lifting speed | Unloaded | mm/s | 425 | ±10% |
| 19 | Rated load | mm/s | 250 | ±10% | |
| 20 | Max.lowering speed | Unloaded | mm/s | 360 | ±10% |
| 21 | Rated load | mm/s | 300 | ±10% | |
| 22 | Max.traveling speed | Unloaded | km/h | 25 | ±10% |
| 23 | Rated load | km/h | 21 | ±10% | |
| 24 | Aisle width | 20′ | mm | 11300 | ±2% |
25 | 40′ | mm | 13600 | ±2% | |
Lista de piezas principales
| N0. | Name | Model | Manufacturer | ||
| 1 | Spreader (XCMG) | XJD450 | Xuzhou XCMG Port Machine Co.,Ltd. | ||
| 2 | Bromma | RSX40 | Bromma | ||
| Spreader (Bromma) | Sweden Bromma | ||||
| 3 | Engine | QSM 11 | Cummins | ||
| XI'AN Cummins | |||||
4 | Transmission | 15.7TE30510 | Dana | ||
| America Dana | |||||
| 5 | Drive Axle | D102PL341 | Kessler | ||
| Germany Kessler | |||||
| 6 | Pump | P105 | Parker | ||
| America Parker | |||||
| 7 | Main value | M402LS-2-4092B | Parker | ||
| America Parker | |||||
| 8 | Telescopic cylinder | XCS45_2.16 | Xuzhou Hydraulic Parts Co.,Ltd.XCMG | ||
| 9 | Luffing Cylinder | XCS45_2.28 | Xuzhou Hydraulic Parts Co.,Ltd.XCMG | ||
| 10 | Tire | 18.00-25 | Guizhou Tyre Co.,Ltd. | ||
| Hongzhou Zhongce Rubber Co.,Ltd. | |||||
| 11 | Cab | XCS4531K.03 | Hubei Qixing Cabin Manufacturing Co.,Ltd. | ||
| 12 | Radiator | XCS4531K.48 | AKG Thermal Systems(Taicang)Co.,Ltd | ||
Notas
Toda la información de este folleto se proporciona únicamente como referencia. No la utilice para operar la máquina. Consulte el manual de operación para obtener las instrucciones de funcionamiento.
La apiladora de contenedores es una máquina todoterreno. Deben respetarse las normas y reglamentos de tráfico locales. Para el transporte a larga distancia, utilice un remolque y tenga en cuenta el peso bruto vehicular (PBV), la carga por eje y las dimensiones de la máquina.
La máquina debe operarse sobre terreno firme con una pendiente inferior al 3%.
Solo se permite operar la máquina cuando la fuerza del viento sea inferior a grado 6. Al operar la máquina con viento, es necesario controlar la velocidad del viento, el estado del equipo y las condiciones del entorno. Además, la velocidad del viento a nivel del suelo es diferente a la de las alturas, y también varía entre terreno llano y el aire urbano, factores que deben tenerse en cuenta.
